聯系人:王經理
銷售電話:15610293837
銷售QQ:2962700085
公司地址:山東省濰坊高新區新城街道玉清社區光電路155號濰坊高新區光電產業加速器(一期)1號樓301

PRODUCT CENTER
聯系人:王經理
銷售電話:15610293837
銷售QQ:2962700085
公司地址:山東省濰坊高新區新城街道玉清社區光電路155號濰坊高新區光電產業加速器(一期)1號樓301
四要素自動氣象站又稱四要素氣象站,小型氣象觀測站,四要素自動氣象站可實時24小時在線采集空氣中溫濕度、光照強度、風速風向、降雨量等農業氣象參數實現對氣象的預測和評估。
一、四要素自動氣象站產品簡介
四要素自動氣象站又稱四要素氣象站,小型氣象觀測站,四要素自動氣象站可實時24小時在線采集空氣中溫濕度、光照強度、風速風向、降雨量等農業氣象參數實現對氣象的預測和評估。
WX-QC4小型自動氣象站(具備省級校準證書)是一款高度集成、低功耗、可快速安裝、便于野外監測使用的高精度氣象觀測設備。
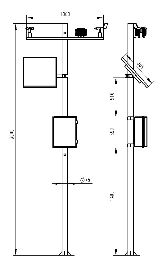
該設備由氣象傳感器,采集器,太陽能供電系統,立桿支架,云平臺五部分組成。免調試,可快速布置,廣泛運用于氣象、農業、林業、環保、海洋、機場、港口、科學考察、校園教育等領域。
二、產品特點
1、低功耗采集器:靜態功耗小于50uA
2、標配GPRS聯網、支持擴展藍牙、有線傳輸
3、7寸安卓觸屏,版本:4.4.2、四核Cortex?-A7,512M/4G
4、支持modbus485傳感器擴展
5、太陽能充電管理MPPT自動功率點跟蹤
6、三米碳鋼支架,兩節法蘭盤對接
7、短信報警,超限后向指定的手機上發送短信
8、不銹鋼材質防護箱,耐腐蝕、抗氧化,防水等級IP66
三、技術參數
1)采集器供電接口:GX-12-3P插頭,輸入電壓5V,帶RS232輸出Json數據格式,采集器供電:DC5V±0.5V峰值電流1A,
2)傳感器modbus、485接口:GX-12-4P插頭,輸出供電電壓12V/1A,設備配置接口:GX-12-4P插頭,輸入電壓5V
3)太陽能供電、配置鉛酸電池,可選配30W 20AH/50W 40AH/100W 100AH.充電控制器:150W,MPPT自動功率點跟蹤,效率提高20%
4)數據上傳間隔:30s-65535s可調
5)7寸安卓觸屏,屏幕尺寸:1024*600 RGB LCD
6)部分傳感器參數
名 稱 | 測量范圍 | 分 辨 率 | 準 確 度 |
環境溫度 | -40~+60℃ | 0.1℃ | ±0.3℃ |
相對濕度 | 0~100%RH | 0.1% | ±2% |
光照強度 | 0-200000Lux | 1Lux | ±2% |
大氣壓力 | 300~1100KPa | 0.1KPa | ±0.3hPa |
露點溫度 | -20~+50℃ | 0.1℃ | ±0.5℃ |
土壤溫度 | -50~+80℃ | 0.1℃ | ≤±0.2℃ |
土壤濕度 | 0~100% | 0.1% | ±2% |
土壤鹽分 | 0-20ms | ±0.1ms | ±2% |
土壤PH | 0-14 | 0.1 | ±0.2% |
風 向 | 0~360°(16方向) | 1/16 | <3°(>1.0m/s) |
風 速 | 0~70m/s | 0.1m/s | ±(0.3+0.03V)m/s |
雨 量 | ≦4mm/min | 0.01mm | ±0.2mm |
紫外輻射 | 0~70W/㎡ | 1W/㎡ | ±2% W/㎡ |
日照時數 | 0~24h | 0.1 h | ±2%h |
總輻射 | 0-2000W/m2 | 0.1W/m2 | 光譜范圍:300-3000nm |
光合有效輻射 | 400~700nm | 靈 敏 度:10~50μv/μmol·m-2·s-1 | |
四、產品尺寸圖

五、產品結構圖
六、上位機軟件介紹
1、PC單機版數據接收、存儲、查看、分析軟件
2、支持串口數據接收、處理、展示
3、支持json字符串、modbus485等通信方式
4、可自設置存儲時間,modbus485采集模式下可自設置采集時間
5、支持自助增加、刪除、修改監測參數的協議、名稱、圖標等
6、支持數據后處理功能
7、支持外置運行javascript腳本
七、安卓APP介紹
1、安卓單機版數據接收、存儲、查看、分析軟件
2、支持藍牙數據接收
3、手機休眠后軟件后臺接收、處理
4、json數據自動添加設備,modbus設備支持掃碼添加設備
5、支持歷史數據查看、分析、導出表格,支持曲線展示、單數據點查看。
6、支持數據后處理功能
7、支持外置運行javascript腳本
八、云平臺介紹
1、CS架構軟件平臺,支持手機、PC瀏覽器直接觀測、無需額外安裝軟件。
2、支持多帳號、多設備登錄
3、支持實時數據展示與歷史數據展示儀表板
4、云服務器、云數據存儲,穩定可靠,易于擴展,負載均衡。
5、支持短信報警及閾值設置
6、支持地圖顯示、查看設備信息。
7、支持數據曲線分析
8、支持數據導出表格形式
9、支持數據轉發,HJ-212協議,TCP轉發,http協議等。
10、支持數據后處理功能
11、支持外置運行javascript腳本
WX-FZ5全彩屏高智能負氧離子監測站通過內置的負氧離子傳感器,實時捕捉空氣中的負氧離子,并經過內部數據處理系統進行分析和計算,最終將結果顯示在全彩屏幕上。用戶可以通過直觀的屏幕界面,實時了解景區公園內的負氧離子濃度情況。景區公園作為城市中的綠色空間,對于改善城市生態環境、提升居民生活質量具有重要意義。···
WX-FZ5全彩屏負氧離子監測站是一種集高科技與環保理念于一體的環境監測設備,它采用高精度傳感器,能夠實時監測空氣中的負氧離子濃度以及其他多種氣象要素,如溫度、濕度、PM2.5、PM10等。這些數據通過全彩屏直觀展示,使得游客和管理者能夠一目了然地了解當前的環境質量狀況。對于旅游景區而言,全彩屏負氧離子監測站的作用尤為顯著。···
WX-SW2野外在線雷達雨量水位監測站,是水文監測領域的一項創新技術。它利用雷達技術,實現了對雨量和水位的實時監測,為水文研究、災害預警和水資源管理提供了強有力的支持。雷達技術以其獨特的非接觸式測量方式,能夠在各種復雜環境下穩定工作,確保了監測數據的準確性和可靠性。傳統的雨量水位監測方式往往受到環境限制,···
WX-SW2河流水位雨量監測系統集成了先進的傳感器技術、數據采集與傳輸技術,以及數據處理和分析能力。它能夠在野外環境中實時監測河流水位和雨量的變化,并通過無線通訊技術實現遠程監控和管理。這種全自動化的監測方式,極大地減少了人工干預的需求,提高了工作效率和管理水平。···
雷達流速監測系統可以對河流水位進行實時監測。到了夏季,河流水位隨著降雨量增多而上漲,必須對水位進行實時監測。WX-LDSW01雷達流速監測系統是一種利用微波技術測量液體流速的設備。它通過發射微波信號到液體中,并測量回波時間來計算液體流速。雷達流速監測系統主要由微波發射器、接收器、處理器和顯示器等組成。···
在自然災害預警領域,時間就是生命。WX-WY1自然災害監測預警系統通過連續監測,能夠及時發現地表形變異常,為泥石流、滑坡等災害的預警提供寶貴數據。一旦監測到超過預設閾值的位移變化,系統便會立即觸發警報,通知相關部門和民眾,為緊急疏散和救援爭取寶貴時間。這種“早發現、早預警、早處置”的模式,極大地提高了災害應對的效率和成功率。···