聯系人:王經理
銷售電話:15610293837
銷售QQ:2962700085
公司地址:山東省濰坊高新區新城街道玉清社區光電路155號濰坊高新區光電產業加速器(一期)1號樓301

PRODUCT CENTER
聯系人:王經理
銷售電話:15610293837
銷售QQ:2962700085
公司地址:山東省濰坊高新區新城街道玉清社區光電路155號濰坊高新區光電產業加速器(一期)1號樓301
森林防火氣象站又稱森林火險監測站,森林火險預警氣象站,森林防火氣象站通過監測容易發生森林火災區域的風速風向、空氣的溫度、相對濕度、太陽輻射等氣象因子,可以對預防森林大火的發生。
一、森林防火氣象站產品簡介
森林防火氣象站又稱森林火險監測站,森林火險預警氣象站,森林防火氣象站通過監測容易發生森林火災區域的風速風向、空氣的溫度、相對濕度、太陽輻射等氣象因子,可以對預防森林大火的發生。
森林火災是森林生態系統的大敵,它能在很短時間內,燒毀大面積的森林和大量的林副產品,破壞林分結構和森林環境,破壞自然界生態平衡,造成氣候失調,水土流失,河流淤塞,洪水泛濫或水源枯竭。通過監測容易發生森林火災區域的風速風向、空氣的溫度、相對濕度、太陽輻射等氣象因子,可以對預防森林大火的發生,在發生大火時也可以指導工作人員進行快速合理的滅火工作,使財產損失降到低點。
該設備由氣象傳感器,采集器,太陽能供電系統,立桿支架,云平臺五部分組成。免調試,可快速布置,廣泛運用于氣象、農業、林業、環保、海洋、機場、港口、科學考察、校園教育等領域。
二、產品特點
1、低功耗采集器:靜態功耗小于50uA
2、標配GPRS聯網、支持擴展藍牙、有線傳輸
3、7寸安卓觸屏,版本:4.4.2、四核Cortex?-A7,512M/4G
4、支持modbus485傳感器擴展
5、太陽能充電管理MPPT自動功率點跟蹤
6、三米碳鋼支架,兩節法蘭盤對接
7、配備聲光報警器
8、人員靠近設備可聲光喊話報警,可短信/電話云通知
9、ABS材質防護箱,耐腐蝕、抗氧化,防水等級IP66
三、技術參數
名 稱 | 測量范圍 | 分 辨 率 | 準 確 度 |
環境溫度 | -50~+100℃ | 0.1℃ | ±0.5℃ |
相對濕度 | 0~100%RH | 0.1% | ±3% RH |
風 向 | 0~360°(16方向) | 1° | ±5° |
風 速 | 0~60m/s | 0.1m/s | ±(0.3+0.03V)m/s |
雨 量 | ≦4mm/min | 0.2mm | ±0.4mm |
光照強度 | 0-200000Lux | 1Lux | ±2% |
大氣壓力 | 10~1100hPa | 0.1hPa | ±0.3hPa |
土壤溫度 | -50~+80℃ | 0.1℃ | ±0.5℃ |
土壤濕度 | 0~100% | 0.1% | ±3%RH |
二氧化碳 | 0-5000PPM | 1PPM | ±40PPM±讀數的3% |
可以根據用戶需求拓展配置:日照時數、蒸發量傳感器、露點溫度傳感器、紫外線輻射傳感器、光合輻射傳感器等各種氣象要素傳感器。 | |||
供電系統 | 市電/太陽能/多電源供電系統可選 | ||
通訊系統 | RS485、USB、無線GPRS、以太網等通訊方式 | ||
專用支架 | 安裝防護箱、傳感器、供電電源、通訊設備等 | ||
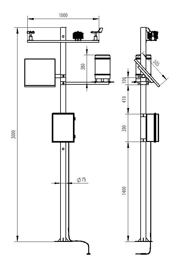
四、產品尺寸圖
五、產品結構圖
六、上位機軟件介紹
1、PC單機版數據接收、存儲、查看、分析軟件
2、支持串口數據接收、處理、展示
3、支持json字符串、modbus485等通信方式
4、可自設置存儲時間,modbus485采集模式下可自設置采集時間
5、支持自助增加、刪除、修改監測參數的協議、名稱、圖標等
6、支持數據后處理功能
7、支持外置運行javascript腳本
七、安卓APP介紹
1、安卓單機版數據接收、存儲、查看、分析軟件
2、支持藍牙數據接收
3、手機休眠后軟件后臺接收、處理
4、json數據自動添加設備,modbus設備支持掃碼添加設備
5、支持歷史數據查看、分析、導出表格,支持曲線展示、單數據點查看。
6、支持數據后處理功能
7、支持外置運行javascript腳本
八、云平臺介紹
1、CS架構軟件平臺,支持手機、PC瀏覽器直接觀測、無需額外安裝軟件。
2、支持多帳號、多設備登錄
3、支持實時數據展示與歷史數據展示儀表板
4、云服務器、云數據存儲,穩定可靠,易于擴展,負載均衡。
5、支持短信報警及閾值設置
6、支持地圖顯示、查看設備信息。
7、支持數據曲線分析
8、支持數據導出表格形式
9、支持數據轉發,HJ-212協議,TCP轉發,http協議等。
10、支持數據后處理功能
11、支持外置運行javascript腳本
WX-CQX7七要素一體式氣象站與超聲波技術的結合,極大地提升了氣象監測的準確性。超聲波傳感器能夠精準地測量風速和風向,其高精度和穩定性確保了氣象數據的可靠性。同時,七要素一體式氣象站還集成了其他多種氣象要素的監測功能,使得氣象數據更加全面、立體,為氣象預報和氣候研究提供了更加精準的數據基礎。···
過去,高邊坡變形監測主要依賴人工巡檢、水準測量和地面監測站等傳統手段。這些方法雖在一定程度上能夠反映邊坡的變形情況,但存在效率低、成本高、受天氣影響大等局限性。特別是在惡劣環境下,人工巡檢難以實施,監測數據的實時性和準確性也難以保證。隨著物聯網、大數據、人工智能等技術的飛速發展,高邊坡變形監測迎來了智能化轉型的春天。這些先進技術深度融合,形成了集遠程監控、實時預警、數據分析于一體的WX-BP1綜合解決方案···
浮標水質監測站能夠實時監測包括水溫、電導率、PH、溶解氧、氨氮等在內的多項水質指標,這些數據對于評估水體健康狀況、預警水質污染事件至關重要。一旦水質出現異常波動,系統會立即發出警報,并通過云端平臺將信息推送至相關部門及管理人員,確保問題得到及時響應與處理,有效保障了飲用水安全及生態環境平衡。···
WX-NQ12農田小氣候觀測站是一種專門用于監測農田內部微氣候環境變化的科學設施。它如同農田的“眼睛”,時刻注視著農田內部的氣象狀況,為農業生產提供著精準、可靠的數據支持。這些氣象數據包括氣溫、相對濕度、降雨量、風速、風向、土壤溫度、土壤濕度等關鍵要素,它們共同構成了農田小氣候的“全息畫像”。···
WX-TS600探針式土壤墑情監測站采用先進的傳感器技術,能夠實現對土壤水分的高精度測量。這種高精度測量對于了解土壤水分的真實狀況至關重要。通過準確測量土壤水分含量,可以為農業生產提供科學的灌溉指導,避免過度灌溉或灌溉不足導致的作物生長問題。除了高精度測量外,探針式土壤墑情監測站還具備實時監測的能力。···
WX-YJ3光學式雨量監測站的核心優勢在于其測量準確性。通過采用先進的光學傳感器技術,該儀器能夠實時捕捉雨滴的反射和散射光信號,并經過精密算法處理,從而實現對降雨量的高精度測量。相較于傳統儀器,光學式雨量監測站通常可以達到更高的誤差范圍控制,如±5%甚至更低,確保了數據的準確性和可靠性。這種高精度測量能力,對于需要精確掌握降雨量變化的氣象、水文等領域來說,無疑是一個巨大的福音。···